葬儀後のアフター対応を追加、管理する画面です。法要と法要以外での管理ができます。
事前に本部マスタ アフターマスタ設定後に機能の利用を開始してください。
アプローチを登録するには、施行種別:葬儀の案件で請求承認を行ってください
(請求承認のタイミングで、命日を起点として四十九日等の各法要の予定日を算出するためです)
請求承認前は、法要等のアプローチを入力することはできません。
請求承認後にアプローチを入力することができます。
請求承認の方法については案件 請求を参照してください。
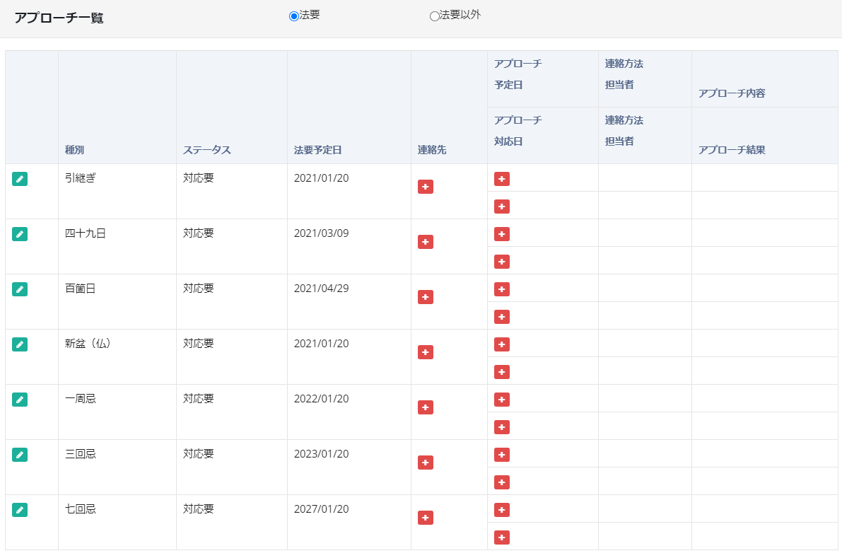
① アプローチは法要と法要以外で切り替えてご利用ください
②
をクリックすると「アプローチ登録」画面が表示されます
③ 連絡先列の
をクリックすると個人情報登録用モーダルが表示されます。アプローチの連絡先となる顧客を指定してください。

④ アプローチ列の上の
をクリックするとアプローチの予定を登録するモーダルが表示されます。
⑤ アプローチ列の下の
をクリックすると対応結果登録を行うモーダルが表示されます。
故人の宗教によって表示される種別が異なります。
種別の設定方法は本部マスタ アフターマスタを参照ください。
アプローチ登録で設定したステータスが表示されます。ステータスを「完了」とするとアプローチの予定、対応を追加できなくなります。
本部マスタ アフターマスタにて設定を行っておくと、請求承認を行ったタイミングで、故人様の命日から法要予定日を自動計算し当欄にセットします。
対象のアプローチ案件に関する連絡先を指定します。
個人情報登録用モーダルの詳細な利用方法については案件共通画面 顧客情報を参照してください。
追加された連絡先は「アフター連絡先」という種別で案件右側の顧客情報欄に追加されます。
次項で詳細をご説明します
アプローチ予定日・対応日の追加、編集ボタンで入力した情報が表示されます。
こちらも、アプローチ予定日・対応日の追加、編集ボタンで入力した情報が表示されます。
アプローチ列の上の
をクリックするとアプローチの予定を登録するモーダルが表示されます。
担当者、連絡方法、対応内容、アプローチ日を入力します。
担当者プルダウンにはアフター権限を持ったユーザのみがリストされます。
入力したアプローチ予定は案件画面の右側にTODOとして登録されます。
案件画面の右側TODO

・アフターアプローチ一覧に紐づくTODOは内容を編集することができません。
・登録されたTODOは、TODO検索画面でも検索することができるようになります。
アプローチ予定の登録を行うと、アプローチ予定日の50日前以降(アプローチ予定日が2021/08/20であれば2021/07/1以降)、担当者のダッシュボード画面にアフターTODOとして、TODOが表示されます。
アプローチ列の下の
をクリックすると対応結果登録を行うモーダルが表示されます。

アプローチが完了した場合には、「対応予定(TODO)を登録する」チェックボックスを押下し登録を行ってください。
対応結果を登録すると案件画面の右側に対応履歴として追加されます。
アフターアプローチ一覧に紐づく対応履歴は内容を編集することができません。
対応結果登録モーダルでTODOを完了させると、案件画面右側のTODOに「完了」と表示されます。
アプローチ予定日の
を押下した分だけ、アプローチの予定を入力することができます。
複数アプローチ予定を入れると、アプローチ予定・対応日の中で最新のアプローチ情報が表示されるようになります。
「種別」の欄に表示されている
を押下するとアプローチの履歴が表示されます。
アプローチの対応が完了し、アフター案件を作成する手順をご案内します。
あらかじめアプローチ一覧の連絡先を登録しておきます。
そして、アプローチ一覧の左端にある
を押下し、アプローチ登録モーダルを表示します。

「完了」を選択し「更新」を押下します。
するとステータス欄が完了となり、「案件登録」ボタンが表示されます。
案件作成時の種別は「法要」のみとなります。
また、故人や故人に関する情報(命日、宗教)は元の案件から自動的に引き継がれます。
アフター案件では、問合せ機能、アフター機能はご利用いただけません。
打合せ画面に表示される施行に関する情報は、以下の5つです。
また、このボタンから作成した案件には「元案件ID」が表示されます。
元案件のアフター画面には、アフター案件へのリンクが作成されます。
削除ボタンを押下するとアフター案件を削除できます。
ただしすでに案件にデータを登録済みのときには削除することができません。
削除条件の詳細についてはこちらをご覧ください。